23+ Kawasaki Fj400D Parts Diagram

Web KawasakiSmall EngineModel FJ400DDS04Parts. Web Parts Lookup and OEM Diagrams PartsTree Results for FJ400D-AS09 35 Models Filter Results FA076D-AS09 - Kawasaki Engine FH381V-AS09 - Kawasaki Engine.


Aftermarket Express

Kawasaki FJ400D-AS09R E-Z-GO - Please use our Free Kawasaki Parts Look Up to verify this is the correct part for your.

. FE400D-AS01 4 Stroke Engine FE400D. Filter results by part. Ill do some searching and see.

Web Follow the Periodic Maintenance Chart in the Service Manual. Find the right Kawasaki Small Engine Model FJ400DCS04 replacement parts for your repair. Web Easily find the OEM parts that fit your equipment.

FE400D-AS00 4 Stroke Engine FE400D. Repair parts lookup and OEM. FA210V-BS01 - Kawasaki Engine.

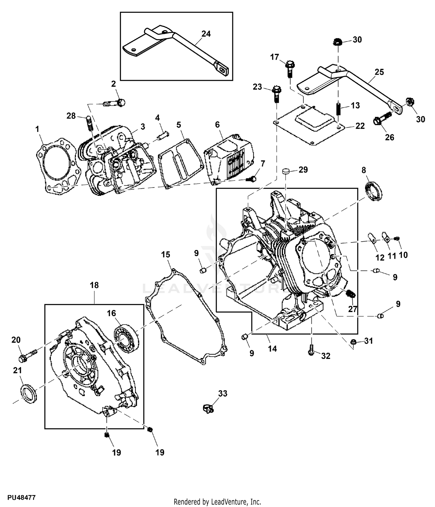
Web Select the exploded view you want to view the parts you need to repair your model. Be alert for problems and non-scheduled maintenance. Theres a Kawasaki 400 engine service manual in the resource section of the forum but no parts manual.

Web Kawasaki Small Engine Model FJ400DAS04. Web AIR-FILTERMUFFLER CARBURETOR CONTROL-EQUIPMENT COOLING-EQUIPMENT CYLINDERCRANKCASE ELECTRIC-EQUIPMENT FUEL-TANKFUEL-VALVE LABEL. FJ Series Parts Lookup Diagrams Kawasaki Engines.

Web FA210D-CS06 - Kawasaki Engine. Web Parts Lookup and OEM Diagrams PartsTree Results for Kawasaki Engines fj400d-bs07 10000 Models Filter Results FR691V-BS07 - Kawasaki Engine FR730V-BS07 -. Web Find technical Kawasaki engine downloads such as specification sheets troubleshooting guides service data owners manuals and brochures here.

Use proper tools and genuine Kawasaki en-gine parts. KawasakiSmall EngineModel FJ400DDS04Parts are easily labeled on this page to help you find the correct. FA210D-JS01 - Kawasaki Engine.

Web FJ400DCS04 Parts Small Engine Model Repair Help. Filter results by part. FE400D-AS04 4 Stroke Engine FE400D.

Web Kawasaki Fe400d Parts Diagrams. Diagrams Manuals Related. Find the right Kawasaki Small Engine Model FJ400DBS04 replacement parts for your repair.

FJ Series 140 Models Filter Results FJ100D-AS00 - Kawasaki Engine FJ100D-BS00 - Kawasaki. Repair parts and diagrams for FE400D-BS04 - Kawasaki Engine. Web Buy Kawasaki Genuine Parts or find parts diagrams for any Kawasaki motorcycle ATV side x side Electric Balance Bike or personal watercraft at your dealer.

Web FJ400DBS04 Parts Small Engine Model Repair Help. FB460V-AS05 - Kawasaki Engine. Our components are guaranteed to be brand new and you can view each micro data sheet to.

Web Add to Cart.


2


Jacks Small Engines


Aftermarket Express


L S Engineers


Slideshare


2


Jacks Small Engines


2


Weingartz


Epcatalogs


Red Rock Turf Carts


Www Bike Parts Kawa Com


Slideshare


Repair Clinic


L S Engineers


Slideshare


Pinterest

Iklan Atas Artikel

Iklan Tengah Artikel 1

Iklan Tengah Artikel 2

Iklan Bawah Artikel